产品概述
FP型增强聚丙烯离心泵系列产品均采用机械密封,并引进先进工艺和技术配方,全使用CFR-PP(增强聚丙烯)作为泵的材质,在同系列的塑料泵产品中,充分显示了其结构先进、重量轻、体积小、寿命长等特点,广泛应用于化工,食品、制药、电镀、造纸、环保、水处理等部门,输送酸、碱、盐等腐蚀性液体。其中104型采用220V电压,可供家庭选用。
性能参数
|
型号 |
口径 |
流量 m3/h |
扬程 m |
吸程 |
转速 r/min |
电压 v |
电机 功率 kw |
|
|
进口 |
出口 |
|||||||
|
FP20-15-60 (106) |
20 |
15 |
1 |
5 |
3 |
2900 |
380 |
0.12 |
|
FP20-20-90 (105) |
20 |
20 |
3 |
6 |
3 |
380 |
0.37 |
|
|
FP32-25-100 (104) |
32 |
25 |
5 |
7 |
6 |
220 |
0.55 |
|
|
FP32-25-105 (103) |
32 |
25 |
6.3 |
8 |
6 |
380 |
0.75 |
|
|
FP32-25-110 |
32 |
25 |
8 |
14 |
6 |
380 |
1.1 |
|
|
FP40-32-125 (102) |
40 |
32 |
12.5 |
20 |
6 |
380 |
1.5 |
|
|
FP50-40-145 |
50 |
40 |
13 |
22 |
6 |
380 |
2.2 |
|
|
FP65-50-150 (101) |
65 |
50 |
25 |
25 |
6 |
380 |
4 |
|
|
50FP-22 |
50 |
40 |
13 |
22 |
6 |
380 |
2.2 |
|
|
65FP-25 |
65 |
50 |
20 |
25 |
6 |
380 |
4 |
|
|
80FP-28 |
80 |
65 |
50 |
28 |
4 |
380 |
5.5 |
|
|
80FP-32 |
80 |
65 |
50 |
32 |
4 |
380 |
7.5 |
|
性能图谱
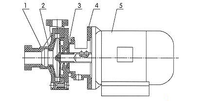
结构图纸
1、泵壳 2、叶轮-轴总成 3、机械密封 4、泵盖 5、电机
安装尺寸
|
尺寸 |
A |
B |
C |
D |
E |
F |
G |
|
FP20-15-60 |
310 |
190 |
20 |
15 |
90 |
70 |
100 |
|
FP20-20-90 |
355 |
200 |
20 |
20 |
110 |
100 |
105 |
|
FP32-25-100 |
370 |
198 |
32 |
25 |
125 |
100 |
110 |
|
FP32-25-105 |
370 |
198 |
32 |
25 |
125 |
100 |
110 |
|
FP32-25-110 |
450 |
235 |
32 |
25 |
125 |
100 |
110 |
|
FP40-32-125 |
470 |
235 |
40 |
32 |
140 |
100 |
125 |
|
FP50-40-145 |
550 |
290 |
50 |
40 |
140 |
100 |
125 |
|
FP65-50-150 |
610 |
340 |
65 |
50 |
190 |
100 |
145 |
型号定义





